欢迎您来到莱诺真空官网://m.ittc2017.com 热线电话:4006 112 722
无油空压机常见故障原因及解决办法

无油空压机常见故障原因及解决办法

一、无油空压机电流过高:导致此故障的常见原因主要有以下几点:1、主机发生故障2、排气压力太高3、电压太低:一般无油空压机的功率都是额定的,因此,根据公式,电压过低肯定会导致电流过高, 这点很好理解二、...

2021-04-26
旋片式真空泵知识运用

旋片式真空泵知识运用

润滑旋转叶片真空泵标准润滑旋片泵是一种单级泵,带有一体式闭环油循环系统。结构坚固,结构紧凑。典型的叶片寿命为50,000小时。泵转子偏心地安装在泵缸中。当泵转子转动时,入口空气被困在转子和叶片段之间(...

2021-04-23
旋片式真空泵真空度达不到要求是什么原因

旋片式真空泵真空度达不到要求是什么原因

旋片式真空泵真空度达不到要求是什么原因(1)旋片式真空泵油位太低,不能对排气阀起油封作用,旋去加油螺塞后有较大排气声,并有油雾,证明油位太低,加油即可排除。(2)油为可凝性蒸汽污染而引起之真空度下降,...

2021-04-20
熟食品加工和果蔬保鲜使用旋片式真空泵加工和运用

熟食品加工和果蔬保鲜使用旋片式真空泵加工和运用

旋片式真空泵这款泵产品想必大家并不陌生,但对于真正了解真空泵的却在少数了,真空泵的功能有很多,在对于果蔬保鲜和熟食品加工上真空泵在此方面上的应用也是相当的广泛,本文主要讲述旋片式真空泵在熟食品加工和果...

2021-04-16
无油活塞泵工作原理详解

无油活塞泵工作原理详解

无油真空泵是一种无需任何油作润滑就能运转工作的机械真空泵,它具有结构简单、体积小巧,易于安装,移动方便,操作容易、维护方便、不会污染环境,产品耐用性好,是抽真空,压缩,两用真空泵。是一种应用范围非常广...

2021-04-13
活塞式无油真空泵的日常维护方法

活塞式无油真空泵的日常维护方法

活塞式无油真空泵,响应当今世界所倡导的节能环保型社会的要求,在工作是不会对环境产生污染,具有具有高效节能、安全环保、运行平稳、低噪音、高可靠性、长寿命,以及无油易维修的特点,是很多食品企业以及医药企业...

2021-04-10
干式旋片真空泵的特点与应用

干式旋片真空泵的特点与应用

一、干式旋片真空泵的特点:1、由于干式泵不会产生油蒸气体,因此生产车间环境及被处理的物品不受污染,是使用在净化车间等工业中最理想的真空设备。2、与水环真空泵比较,水环泵受地理、资源的限制,且造成水资源...

2021-04-07
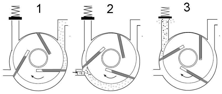
旋片式真空泵的内部工作原理

旋片式真空泵的内部工作原理

您对简单但多功能和高性能泵的追求将不再是旋转叶片真空泵系统。这种特殊类型的泵可以使用不同粘度的流体,特别是厚度和粘度阻力低于1,000,000 cP的流体。因此,它们的应用是多种多样的,并且可以有效地...

2021-04-02
真空泵长期使用也会“生病”,维修保养很重要

真空泵长期使用也会“生病”,维修保养很重要

一、长期使用会出现哪些问题1、真空泵排气口冒烟2、真空泵喷油、漏油3、真空泵噪音超标4、真空度下降5、真空泵发烫等现象如果真空泵问题不是很严重的情况下,可自行拆开真空泵,更换真空泵易损件之后对真空泵进...

2021-03-30
真空在输运、吸引、起吊及真空造型等设备中的应用

真空在输运、吸引、起吊及真空造型等设备中的应用

真空输运、吸引及起吊设备、都是利用真空与大气间存在压力差所产生的力来做功的。由于这种机械能存在着压强处处均匀的特点,因此可绝对密接地施加到任何形状的平面上。目前、这些真空设备大多用在吸鱼、粮食、面粉、...

2021-03-25
我们乐于回答您可能有的任何问题
Baidu
map